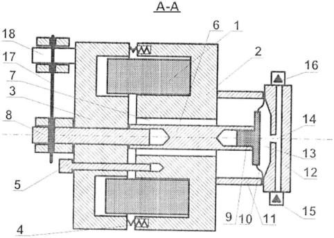
1. Мембранный насос-дозатор, содержащий катушку соленоида, а также подвижный якорь и неподвижный статор, смонтированные соосно и связанные между собой возвратными пружинами, обеспечивающими перемещение якоря до ограничителя хода, шток, установленный в полости статора и соосно ему с одной стороны жестко соединенный с якорем, а с другой - с жестким центром, на котором закреплена мембрана, связанная с корпусом проточной части насоса, содержащим рабочую камеру с впускным и выпускным клапанами, соединенными между собой каналом, отличающийся тем, что для исключения отклонения соосности статора, якоря и штока, он дополнительно снабжен гибкой подвеской, закрепленной одним концом на оси подвижного якоря, а другим концом - на опоре, жестко смонтированной на неподвижном статоре, при этом между штоком и стенками полости статора образован воздушный зазор.
2. Мембранный насос-дозатор по п. 1, отличающийся тем, что гибкая подвеска выполнена в виде двух расположенных под углом друг к другу плоских гибких пластин, с одной стороны концами закрепленных между собой и на выступающей за пределы подвижного якоря оси, а другими концами - на опорах неподвижного статора.
3. Мембранный насос-дозатор по п. 1, отличающийся тем, что гибкая подвеска выполнена из стали или композитных материалов.
4. Мембранный насос-дозатор по п. 1, отличающийся тем, что гибкая подвеска закреплена на оси якоря и опорах статора резьбовым соединением.
