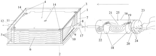
1. Гнездо-инкубатор для икры лососевых рыб в естественных условиях, включающее корпус со сплошным дном, крышку с отверстием для спуска воздуха, искусственный инкубационный субстрат в виде пластины с лунками для закладки в них икры, перфорированный выносной водозаборник-фильтр, установленный перед корпусом и связанный с ним гибкой трубкой, а также впускной патрубок для поступления воды и выпускной патрубок для выхода личинок, отличающееся тем, что искусственный инкубационный субстрат выполнен в виде слоев горизонтально расположенных друг над другом пластин, каждая из которых образует модуль, включающий каркас с лунками в виде поперечно расположенных желобков со сплошным дном и дренажными отверстиями, выполненными в стенках соседних лунок, в боковых стенках каркаса пластин образованы впускные отверстия для воды и направляющие пластины для равномерного распределения воды на всю площадь инкубационного субстрата, а также выпускные отверстия для воды и вылупившихся личинок, при этом с фронтальной стороны корпуса перед впускным патрубком установлены водораспределительная решетка и ограничивающая сетка, а в боковой стенке корпуса с выпускным патрубком смонтирована выпускная коническая воронка, водозаборник дополнительно содержит разделительные перегородки, разделяющие водозаборник на приемную, отстойную и выпускающую камеры, при этом перфорации во фронтальной крышке водозаборника выполнены в нижней части, а в разделительных перегородках - сверху.
2. Гнездо-инкубатор по п.1, отличающееся тем, что количество пластин инкубационного субстрата от 2 до 18.
3. Гнездо-инкубатор по п.1, отличающееся тем, что пластины инкубационного субстрата выполнены прямоугольной формы.
4. Гнездо-инкубатор по п.1, отличающееся тем, что расстояние между двумя горизонтально расположенными пластинами от 15 до 35 мм.
5. Устройство по п.1, отличающееся тем, что глубина лунок в пластине выполнена от 2,0 до 9,6 мм, а их ширина - от 3,0 до 12,0 мм в зависимости от вида инкубируемой икры.
6. Устройство по п.1, отличающееся тем, что выпускная коническая воронка в боковой стенке корпуса выполнена в виде сужающегося конуса с углом конусности 45°.
7. Гнездо-инкубатор по п.1, отличающееся тем, что в каркасе пластин выполнены установочные отверстия под направляющие стержни, для крепежа инкубационного субстрата.
8. Гнездо-инкубатор по п.1, отличающееся тем, что ограничивающая сетка выполнена с ячейками 2×2 мм.
9. Гнездо-инкубатор по п.1, отличающееся тем, что гибкая трубка, связывающая корпус с выносным водозаборником, для обеспечения перепада высоты и создания необходимого уровня проточности выполнена длиной от 2 до 10 м и диаметром от 16 до 72 мм.
10. Гнездо-инкубатор по п.1, отличающееся тем, что диаметры отверстий перфорации во фронтальной крышке водозаборника и разделительных перегородках выполнены от 5 до 10 мм.
11. Гнездо-инкубатор по п.1, отличающееся тем, что дно корпуса снабжено защитным ковриком, предохраняющим устройство от повреждения при установке его на каменистое дно водоема.
