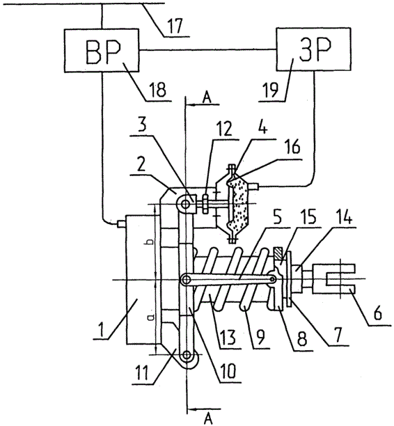
1. Тормоз вагона, содержащий пневматическую магистраль, воздухораспределитель, запасной резервуар и универсальные силовые блоки, каждый из которых имеет пневмоцилиндр рабочей системы тормоза и аккумулирующую пружину с фиксатором автоматической стояночной системы тормоза, причем пневмоцилиндр пневмопроводом присоединен к воздухораспределителю и выполнен с трубчатой направляющей штока со встроенным в него звеном регулятора зазоров, снабженным на выходе из штока шарниром для силового воздействия через рычажный механизм на тормозные башмаки, при этом аккумулирующая пружина надета на трубчатую направляющую штока и через нажимное кольцо с помощью фиксатора прижата к корпусу пневмоцилиндра, а торец его штока снабжен упором, с которым имеет возможность вступать в силовой контакт своим торцем нажимное кольцо при отключении фиксатора аккумулирующей пружины, отличающийся тем, что фиксатор выполнен в виде пневмокамеры с фланцевой диафрагмой; кожух пневмокамеры закреплен на корпусе рабочего пневмоцилиндра, ее камера для сжатого воздуха соединена пневмопроводом с полостью запасного резервуара, а шток пневмокамеры через рычажную передачу связан с нажимным кольцом.
2. Тормоз вагона по п. 1, отличающийся тем, что нажимное кольцо выполнено с внутренним диаметром, меньшим, чем наружный диаметр торца трубчатой направляющей штока пневмоцилиндра.
3. Тормоз вагона по пп. 1 и 2, отличающийся тем, что элементы фиксатора подобраны с возможностью при сжатии аккумулирующей пружины обеспечения бессилового касания нажимным кольцом торца трубчатой направляющей при давлении воздуха в пневмокамере в диапазоне 2-3 кГ/см2.
