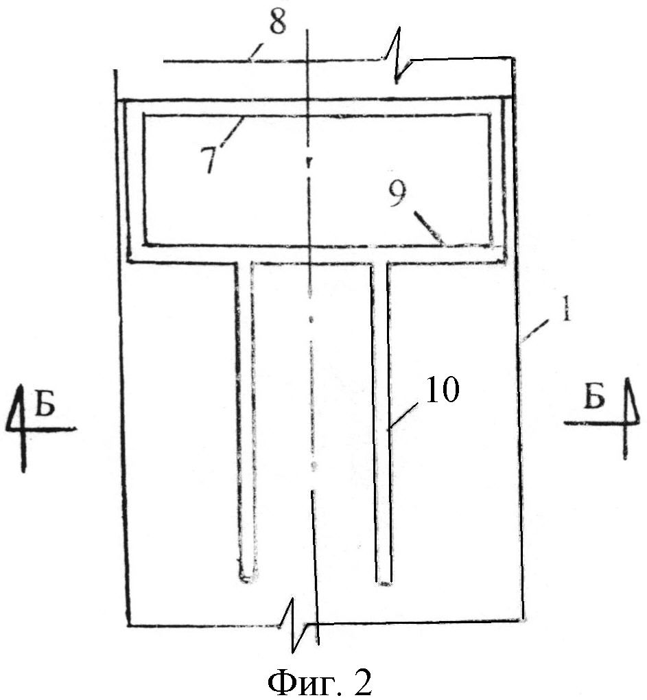
Изобретение относится к мелиоративному строительству и может быть использовано при строительстве закрытых собирателей в Нечерноземной зоне, предназначенных для осушения средне- и тяжелосуглинистых и глинистых почвогрунтов как с атмосферным, так и с намывным типами водного питания. Способ строительства закрытых собирателей, содержащих водоприемный элемент в виде единого блока из n-ого количества (n>2) вертикальных продольных фильтрующих призм, включает рытье траншеи экскаватором-дреноукладчиком, укладку в нее дренажной трубы, обернутой защитно-фильтрующим материалом, и засыпку траншеи посредством присыпателя, движущегося синхронно с дреноукладчиком и оборудованного бункером для фильтрующего материала со спускным лотком. Укладку дренажной трубы, обернутой защитно-фильтрующим материалом, и засыпку траншеи осуществляют одновременно. Дренажную трубу, обернутую защитно-фильтрующим материалом, присыпают по всей ширине траншеи на 15 см над ее шелыгой из короба, в который по спускному лотку поступает фильтрующий материал из бункера. Короб представляет собой прямоугольный параллелепипед, имеющий ширину, равную ширине траншеи, а высоту, несколько большую, чем глубина траншеи. Низ короба не доходит до дна траншеи на толщину слоя присыпки дренажной трубы относительно дна траншеи. Передней стенкой 7 короб жестко присоединен к корпусу 8 экскаватора-дреноукладчика. На задней 9 стенке короба с внешней стороны установлены (n-1) вертикальные, параллельные между собой и стенками 1 траншеи с возможностью изменения расстояния между ними в соответствии с толщиной призм перегородки 10. Высота каждой из перегородок 10 равна высоте короба. Бункер для фильтрующего материала разделен на секции посредством перегородок с возможностью изменения расстояния между ними и их количества таким образом, чтобы количество секций бункера было на одну больше количества вертикальных продольных фильтрующих призм закрытого собирателя. Каждая секция бункера снабжена своим спускным лотком, из которого каждую смежную вертикальную продольную призму заполняют разнородным фильтрующим материалом. Обеспечивается возможность выполнения фильтрующей засыпки траншеи закрытого собирателя, имеющего в траншее (n+1) фильтрующую призму, где n≥2, а также улучшение гидрологического действия закрытых собирателей и повышение эколого-экономической эффективности дренирования слабоводопроницаемых средне- и тяжелосуглинистых и глинистых почвогрунтов. 3 з.п. ф-лы, 2 ил .
