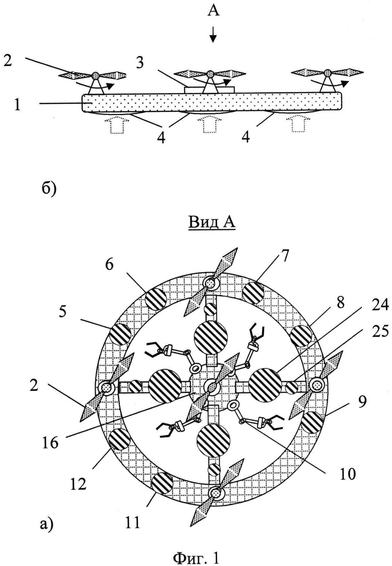
Изобретение относится к авиационной технике, в частности к конструкциям роботизированных беспилотных летательных аппаратов (РБЛА) для мониторинга чрезвычайных ситуаций. РБЛА содержит фюзеляж, движитель, бортовую аппаратуру и молекулярный источник энергии, использующий воду в качестве расходного рабочего вещества. Бортовая аппаратура включает средства мониторинга, связи и управления. Фюзеляж выполнен в виде несущей рамы, на которой установлен движитель, содержащий не менее трех несущих винтов. Молекулярный источник энергии выполнен в виде генератора шаровой молнии или в виде электролитического мотора с генератором электрического тока для электропитания бортовой аппаратуры и вращения несущих винтов. Молекулярный источник энергии установлен в центре рамы, а несущие винты - по ее периферии. Генератор шаровой молнии может быть выполнен с возможностью электрического соединения с электроприводом несущих винтов РБЛА, а электролитический мотор - с возможностью механического соединения его вала с пропеллером РБЛА через кинематическое звено. Генератор шаровой молнии и электролитический мотор снабжены емкостями для воды и химического катализатора. Повышается надежность и независимость работы РБЛА от высоты полета и погодных условий в плотных слоях атмосферы. 2 н. и 1 з.п. ф-лы, 4 ил .
РОБОТИЗИРОВАННЫЙ ЛЕТАТЕЛЬНЫЙ АППАРАТ ДЛЯ МОНИТОРИНГА ТЕРРИТОРИЙ ПОЖАРОВ, ТЕРРОРИСТИЧЕСКИХ АКТОВ И ТЕХНОГЕННЫХ КАТАСТРОФ
21.05
2016
Дата публикации:
27.07.2015
Номер изобретения:
2557857
Класс МПК:
Патентообладатель:
Адрес для переписки:
170041, г.Тверь, ул. Коноплянниковой, 89, корп. 1, ЗАО "РТИС ВКО"
Реферат:
