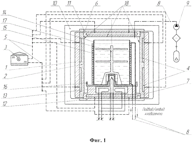
Изобретение относится к литейному производству. Агрегат высокого давления для очистки поверхностей металлических изделий от керамических остатков литейной формы содержит контейнер 1 с охлаждаемыми стенками 2 и закрытый с торцов пробками 6 и 7, рабочую камеру 14, снабженную нагревателем 13 и установленную в контейнере на нижней пробке 7, систему подачи газа через верхнюю пробку 6 контейнера в рабочую камеру 14. Агрегат снабжен станиной 10, разделенной на секции, в каждой из которых выполнены верхняя и нижняя ячейки для установки в них контейнера 1 и ограничения осевого перемещение торцевых пробок. На рабочую камеру надета рубашка охлаждения 15. На нижней торцевой пробке смонтирована емкость для сбора конденсата. Внутри рабочей камеры установлена технологическая этажерка для расположения и ориентации на ней обрабатываемых металлических изделий. Обеспечивается упрощение конструкции, сокращение времени процесса, повышение качества очистки поверхностей металлических изделий и увеличение срока службы оборудования агрегата. 7 з.п. ф-лы, 3 ил.
