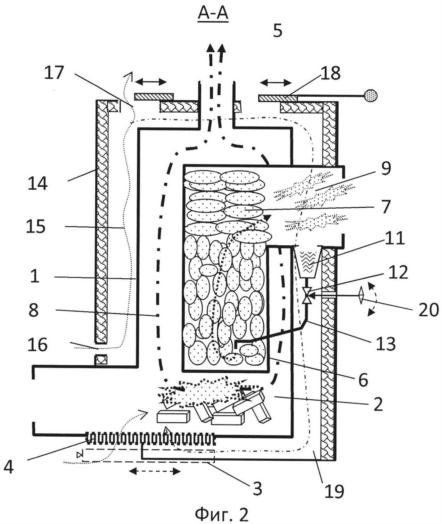
Изобретение относится к конструкциям печей при оборудовании бань. Технический результат - повышение скорости разогрева, повышение качества пара, уменьшение мощности жесткого инфракрасного излучения и возможность регулирования температуры нагреваемого воздуха. Печь содержит металлический корпус 1 с встроенной каменкой 6. Между стенками корпуса каменки 6 и корпуса 1 печки образованы дымоходы 8, связывающие топку 2 с дымовой трубой 5 вдоль всех боковых сторон каменки 6 и с верхней ее стороны. Каменка 6 снабжена загрузочной нишей 9 с дверцей 10. На дне ниши 9 установлена воронка 11 для воды с капельницей 12 и патрубком 13, свободный конец которого выведен в нижнюю часть каменки 6 в толщу ее теплоемкого материала 7. С внешней стороны корпус 1 печи покрыт утепленным кожухом 14. Кожух 14 установлен над корпусом 1 печи с зазором, образующим конвектор 15 для нагрева воздуха между стенками корпуса 1 и стенками кожуха 14. Для теплового обмена конвектора 15 нагретым воздухом с окружающей средой парной бани в нижних боковых частях кожуха 14 выполнены приточные отверстия 16 для холодного воздуха, а в верхней части кожуха - отверстия 17 с задвижками 18 для дозированного вывода нагретого воздуха в парную бани. Полость конвектора 15 соединена через поворотное колено 19, зольник 3 и колосниковую решетку 4 с полостью топки 2. 4 з.п. ф-лы, 3 ил.
