17.01
2017
(45) Дата публикации:
27.12.2016
(11) Номер изобретения:
2605785
(51) Класс МПК:
(73) Патентообладатель(и):
Адрес для переписки:
171261, Тверская обл ., п. Редкино, ул. Академическая, 4, кв. 66, Бирюков Игорь Михайлович
(57) Реферат:
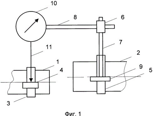
Изобретение относится к методам измерения и регулирования несоосности вручную или автоматически известными методами. Сущность способа заключается в том, что проводят измерение несоосности, затем осуществляют повторное измерение несоосности, при этом устанавливают измерители параллельно, причем диапазон измерения каждого следующего измерителя равен максимальной ошибке предыдущего. Технический эффект заключается в том, что упрощается техническая реализация и повышается точность измерения или регулирования. При этом известные инвариантные системы регулирования или управления несоосностью будут точно или более точно приведены к нулю. 1 ил.
